The Role of Patents in Sports

The evolution of sports can be told by means of the patent literature. While athletes, sportsmen and teams seek to break records, achieve victories or just have fun, patents, in parallel, showcase new technologies to overcome the challenges of sports or even make them more accessible and interesting for the public.
Some Examples of patents in Sports
It is difficult to think about in sports and not imagine a ball. The basketball, for example, was first played with a soccer ball, and in the very beginning of this new sport, efforts were made to produce balls properly fitted to the peculiarities of basketball.
In 1929, however, George L. Pierce was awarded the first patent (US1718305) for a ball specifically designed for “basket ball,” as it was called at the time. This ball had provided a better balance among their equatorial and polar zones, allowing material saves during its construction and allowing the position of the valve on a polar zone.
As in other sports, the basketball starts with improvisation, per instance the first basket was a fruit basket. There was a lot of innovations on baskets, including the use of nets, that needed to be laced or tied on to the hoop. This tedious task was eliminated when a series of tieless net-attaching devices was invented in 1936 (US2053635, A. E. Sandenberg), by means of which the net may be readily and quickly attached to and detached from the ring manually, without requiring any lacing cord or tie cord.
In other hand, the innovations in the “balls” used in a game can also be addressed to the spectators and not the players. Hockey has become a popular sport worldwide. However, the number of viewers watching professional hockey games on television has not increased proportionally, because television viewing of a hockey game is hampered by poor visibility and distortion of the hockey puck. In 1996 was patented a technology to make the hockey puck more visible to the television viewer (US5564698, Stanley Honey et al), by means of the installation of an electromagnetic transmitter inside the puck, wherein it transmits electromagnetic signals outside of the visible spectrum that can allow the puck bigger or brighter for the television viewer.
So, while athletic tracks at 400 meters were shorter, this invention became very useful in human races (https://blogs.bl.uk/patentsblog/2012/08/the-patent-for-the-synthetic-ru…).
For now, we have balls and tracks, but patents also showcase technical advances in athletic shoes, as one can see in US3793750 (W. Bowerman) published in 1972, wherein an improved sole having integral polygon shaped studs, on a waffle pattern, is particularly useful in games which require that the players stop, start and change directions rapidly. With this invention, the previous flat soles were completely overcome.
Interesting, in the drawings of the patent it is possible to view an association between the patent and the trademark of the applicant (LEVERAGING INTELLECTUAL PROPERTY IN THE GLOBAL SPORTS ECONOMY, SPORTS AS A TOOL FOR PROGRESS AND DEVELOPMENT, Global Innovation Policy Center).
In Beijing Summer Olympics 2008, several world records were braked and a lot of races were won in swimming competitions, with a significant contribution of a new swimsuit (GB2444803, Rance Jason et al), that reduces the entry of water between the suit and body (a source of drag) and avoids the sliding of the fabric over the skin. Further, it can also reduce muscle vibration which is believed to be a cause of fatigue and body drag in swimming.
After these amazing results, the International Swimming Federation (FINA) has defined rules restricting these swimsuits in official competitions, recalling that the main and core principle that swimming is a sport essentially based on the physical performance of the athlete.
However, the inventions on sports are very inclusive, as can be acknowledged in the famous carbon-fibre prosthetic legs used by Oscar Pistorius in 2008 Paralympcs and 2012 Summer Olympics. After losing his left leg in a water-skiing accident in 1976, Van Phillips developed a prosthetic leg flexible and light, with a specific shape that increased the benefits of the carbon fibre (WO9318723) (https://blogs.bl.uk/patentsblog/2011/08/oscar-pistorius-the-athlete-and…).
The new technologies have also been helping referees and judges in order to provide conditions to make better judgements and to contribute to fair results in sports competitions.
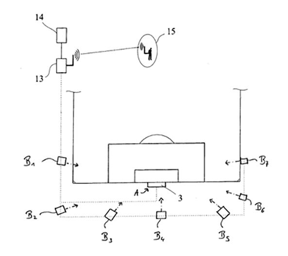
The participation of the video assistant referee (VAR) has became very important in several sports, thanks to the development of inventions as that one revealed in WO0141884 (David Sherry and Paul Hawkins), related to a video processor systems, comprising six cameras positioned around a sport ground or pitch, suitable for tracking a ball during ball games. Despite the patent focus in helping umpires to make better decisions in cricket games, this technology is currently used in several other sports, as tennis and football (https://blogs.bl.uk/patentsblog/2008/06/the-hawk-eye-sy.html).
Furthermore, everyday people want to learn about new sports or how to improve their skills in a certain sport. It is possible to learn watching videos in internet or paying lessons for a sports coach. Besides these well-known learning ways, patents can also be very useful to everyone that desire to play better a sport. For instance, in US5616089 (Dale D. Miller) is revealed a method addressed to golfers that would like to improve their putting and in US4846471 (Elbert M Hayson) is disclosed a method for training and warming-up baseball pitcher (LEVERAGING INTELLECTUAL PROPERTY IN THE GLOBAL SPORTS ECONOMY, SPORTS AS A TOOL FOR PROGRESS AND DEVELOPMENT, Global Innovation Policy Center).
Some Trends in Sports According to Patents Data
According to data from free patent database Lens.Org, a huge increase in publications related to patents has been noticed since the last decades, showing an exponential growth function. The same pattern, as shown in the following figure, can be observed with respect to the publications related to apparatus and equipment for practicing sports (patent publications having at least an international patent classification A63, sports; games; amusements).
Is it possible that patents can give us a clue about the most popular sport in the world? After performing a search by the international patent classifications on Lens.Org, it is possible to recover the following results, observing a slight prevalence to inventions about ball games and their accessories, but we must keep in mind that is only a clue.
A shorter version of this opinion article was published in Jornal Vida Económica





